Цветная капуста квадратная
← Шифт →
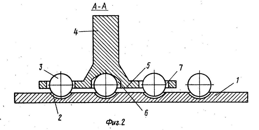
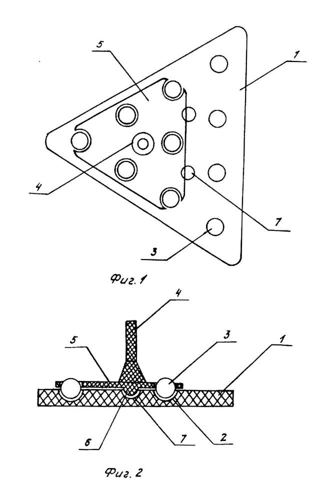
Самодельная головоломка изготовленная в СССР.
Автор головоломки — изобретатель из Черкесска Павел Манташьян.
Головоломка была запатентована.
Из коллекции Анатолия Тимофеевича Калинина.







